目 录
《中药制剂分析》实验课程简介
中药制剂分析实验是为《中药制剂分析》课程配套的实验教学课程。该课程涉及定性鉴别、含量测定、杂质检查以及质量标准研究等9个实验内容,共36个学时。实验类型包括验证性、综合性和设计性实验。通过本课程的学习,使学生熟悉中药制剂分析的特点、方法和应用,能熟练运用物理学、化学、生物学等现代分析手段和方法对中药制剂的各个环节(原料、半成品及成品)进行质量分析,从而保障临床用药的安全有效。
实验守则及要求
1. 提前预习:基本原理、实验内容、操作流程、注意事项
2. 规范操作:
仔细操作,容器干净,有量的概念
正确使用仪器、操作规范、细心观察
做好实验记录
思考、分析
3. 实验报告要求
专用报告纸
实验报告内容包括: 实验日期、实验者、名称、实验目的、方法原理、实验步骤、 实验现象描述、实验数据及结果计算、数据处理、 问题讨论、 及时上交
4. 安全知识
着装:实验服、长裤、护脚面鞋、戴手套、戴口罩
禁止:吃、喝、看手机
要求:化学品严禁入口鼻眼、实验完毕洗手、浓硝酸浓硫酸等腐蚀性试剂不慎使用及时清洗、废液集中处理
防火:勿慌、关闭电源、防火布、使用CCL4(电器),CO2(有机溶剂)灭火器、报警等。
卫生:收拾台面,安排值日打扫
关闭:水、电、气
实验课时分配和教学方式
内容 |
学时 |
教学方式 |
实验一 中药制剂的理化定性鉴别 |
4 |
验证实验 |
实验二 双波长分光光度法测定口腔溃疡散靛玉红和靛蓝的含量 |
4 |
验证实验 |
实验三 高效液相色谱法测定口腔溃疡散中中靛玉红的含量 |
4 |
验证实验 |
实验四 气相色谱法测定牛黄解毒片中冰片的含量 |
4 |
验证实验 |
实验五 矿物药石膏中的重金属检查 |
2 |
验证实验 |
实验六 甲苯法测定银翘解毒丸中水分的含量 |
4 |
验证实验 |
实验七 藿香正气水(酒剂)的含醇量测定 |
4 |
验证实验 |
实验八 莪术的吸光度检查与挥发油测定 |
4 |
验证实验 |
实验九 连花清瘟颗粒(片、胶囊)质量标准研究 |
6 |
综合设计性实验 |
实验一 中药制剂的理化定性鉴别
一、实验目的
掌握几种定性鉴别方法和原理
二、实验原理
利用中药制剂中特有化学成分理化性质,根据一般化学反应、易挥发性、紫外吸收、薄层色谱法进行中药制剂的定性鉴别。
三、实验材料、仪器和试剂
实验材料:牛黄解毒片、复方丹参片、胆酸对照品
仪器或器材:紫外分光光度计、超声波震荡器、恒温水浴锅、微量升华装置、紫外灯、10ml量筒、刀片、研钵、三角漏斗、滤纸、50mL烧杯、10mL试管、容量瓶、薄层板、研钵、10mL量筒、50mL带塞锥形瓶、三角漏斗、滤纸、移液器、喷壶、吹风机
试剂:乙醇、镁粉、盐酸、氢氧化钠、过氧化氢、纯净水、1%香草醛硫酸溶液、石油醚、乙醇、二氯甲烷、正己烷、乙酸乙酯、醋酸、甲醇、10%硫酸乙醇溶液
四、实验方法及步骤
(1)、牛黄解毒片中大黄、黄芩的鉴别反应
取牛黄解毒片6片,用刀片刮去糖衣,在研钵中研成细粉后,置入50mL烧杯中,加入乙醇20mL,在恒温水浴锅中温热10分钟,经过三角漏斗上的滤纸进行过滤,滤液转入干净的50mL烧杯,然后作如下反应:
1. 取滤液5ml到试管中,加0.1g镁粉与浓盐酸0.5mL,加热,显红色。
2. 取滤液4ml到试管中,加0.5mL氢氧化钠(1M),显红色,再加30%过氧化氢2-3滴,加热红色不消失,加0.5mL稀盐酸呈酸性,则红色变为黄色。
1. 取复方丹参片1片,用刀片刮去糖衣后,在研钵中研成细粉后,置入50mL锥形瓶中。
2. 分次加入少量水用玻璃棒搅拌后,经过三角漏斗上的滤纸进行过滤,滤液移至100ml容量瓶中,并加水至刻度。
3. 取出2mL溶液转入50mL烧杯,加水至25ml,用紫外分光光度计,在200-400nm范围内扫描,以水为空白,供试液在283±1nm波长处有最大吸收。
(3)、微量升华定性鉴别
取牛黄解毒片1片,用刀片刮去糖衣,在研钵中研成细粉后用表面皿盖上,在电热套中缓慢加热,进行微量升华,所得白色升华物,加新制的1%香草醛硫酸溶液1-2滴,液滴边缘渐显玫瑰红色。
(4)牛黄解毒片的薄层色谱鉴别
1. 薄层板制备: 硅胶GCMC-Na板
2. 供试品溶液制备:取牛黄解毒片2片,研细,加二氯甲烷10mL,超声10min滤液蒸干,残渣加乙醇0.5mL使溶解,作为供试品溶液。
3. 对照品溶液制备:取胆酸对照品,加乙醇制成每1ml含1mg的溶液,作为对照品溶液。
4. 点样、展开与显色:吸取上述两种溶液各5μL,分别点于同一硅胶G薄层板上,以正己烷-乙酸乙酯-醋酸-甲醇(20:25:2:3)的上层溶液为展开剂,展开后取出,晾干,喷洒10%硫酸乙醇溶液,用吹风机烘干(105℃)置紫外灯(365nm)下检视,在供试品溶液与对照品溶液相应位置上显相同颜色的斑点。
五、思考题
1. 为什么鉴别前要刮去药品的糖衣?
2. 本实验中四种定性鉴别的测定原理?分别鉴定处方中何种中药材?
实验二 双波长分光光度法测定口腔溃疡散中靛玉红和靛蓝的含量
一、 实验目的
1. 熟悉双波长等吸收法测定的基本原理
2. 掌握双波长等吸收法进行中药制剂定量分析的基本方法
二、 实验原理
中药制剂的组成复杂,需排除干扰组分。不经分离,利用光谱学方法通过适当数学处理去除干扰。双波长、三波长、差示光谱法和导数光谱法。
选出两个波长l1与l2,选择原则:干扰组分a在l1与l2处吸收度相等,即 Aal1= Aal2。待测组分b在l1与l2处差吸收度DA应比较大。在l1与l2处测混合组分溶液的差吸度DA。设l1为参比波长,l2为测量波长。

三、 实验材料、仪器和试剂

口腔溃疡散:处方:青黛、白矾、冰片。
主治功能:清除内热、解毒,口腔溃疡局部的消炎、消肿、止痛,促进黏膜软组织生长,使口腔溃疡愈合。
靛玉红和靛蓝是青黛中的重要化学成分。
靛玉红(10mg)和靛蓝(10mg)标准品。
仪器或器材: 可见-紫外分光光度计、分析天平、索氏提取器、水浴锅、容量瓶(10mL、100mL、500mL),移液管、滤纸等
试剂:二氯甲烷
四、 实验方法及步骤
1. 标准品溶液制备:用分析天平称量靛玉红和靛蓝标准品各约10mg,分别用二氯甲烷溶解于100mL和500mL容量瓶中,加入二氯甲烷至刻度,作为标准品的储备溶液。用移液管精密吸取靛玉红标准溶液0.1、0.2、0.4、0.6、0.8、1.0、1.2mL放入10mL容量瓶中,加二氯甲烷至刻度。然后用移液管精密吸取靛蓝标准溶液0.5、1.0、2.0、3.0、4.0、5.0、6.0mL放入10mL容量瓶中,加二氯甲烷至刻度。
2. 绘制标准曲线:用可见紫外分光光度计测定波长在530nm和640nm处测定7个浓度靛玉红标准溶液的吸收度,以靛玉红的浓度(mg/mL)为横坐标,△A(A530nm-A640nm)为纵坐标绘制标准曲线,经回归处理得到回归方程。测定波长在514nm和566nm处7个浓度蓝标准溶液的吸收度,同法得到靛蓝标准曲线的回归方程。
3. 样品溶液制备:用分析天平精密称取口腔溃疡散W=1.0g,用滤纸包裹后置入索氏提取器中,加二氯甲烷约300mL至出现虹吸,在水浴锅中回流提取至提取液无色,约2-3小时。过滤得提取液,残渣用二氯甲烷40mL分三次洗涤,合并洗涤液于旋转蒸发仪中,浓缩提取液后转入100mL容量瓶中,定容至刻度,摇匀。
4. 含量测定:用可见紫外分光光度计测定波长在530nm和640nm处样品溶液的吸收度,得到△A(A530nm-A640nm),用回归方程求出样品中靛玉红的含量。在514nm和566nm处测定样品溶液的吸收度,同法计算样品中靛蓝的含量。计算公式:含量(mg/g)=C测×100/W
五、 思考题
1. 双波长分光光度法中如何选择l1(参比波长)和l2(测量波长)
2. 建立标准曲线回归方程的意义在哪里?
实验三 高效液相色谱法(HPLC)测定口腔溃疡散中靛玉红的含量
一、实验目的
1. 了解HPLC的工作原理及使用方法
2. 掌握HPLC外标方法测定中成药成分的含量
二、 实验原理
HPLC是一种高压输液泵将规定的流动相泵入装有填充剂的色谱柱进行分离测定的色谱方法。

三、 实验材料、仪器和试剂
1. 药品:口腔溃疡散(50g),靛玉红对照品(5mg)
2. 器材: HPLC、反相色谱柱、离心机、称量纸、10mL容量瓶、25mL容量瓶、移液器、
3. 试剂:分析级甲醇和纯净水
四、 实验方法及步骤
1. 优化色谱条件
色谱柱:C18反相色谱柱(150mm×4.5um)
柱温:室温
流动相:甲醇:水=75:25
流速:0.8 mL/min
检测波长:289nm
2. 标准曲线制作: 精密称取靛玉红用甲醇配置浓度为0.01、0.02、0.03、0.04、0.05 mg/mL,各进样10uL,记录色谱峰的保留时间(约9min)。每个浓度进两针,求其峰面积平均值,对峰面积积分值与样品浓度进行回归处理,找出其线性范围。(y=3×107x + 265988 R2=0.9872)
3. 样品的测定:称量口腔溃疡散0.5g,精密加入甲醇20mL,超声波提取30分钟。以6000rpm转速用离心机离心10min,滤液用0.45um有机滤膜过滤。取样10uL注入高效液相色谱仪,鉴别样品中的靛玉红色谱峰,并记录峰面积。根据标准曲线计算靛玉红的浓度,求含量(mg/g)。
五、思考题
1. HPLC常用的定量方法有几种?
2. 实验中色谱柱一定时,如何提高理论塔板数?
实验四 气相色谱法(GC)测定牛黄解毒片中冰片的含量
一、实验目的
1. 了解GC的工作原理及使用方法
2. 熟悉GC内标定量法测定中成药成分的含量
二、 实验原理
气相色谱是采用气体为流动相(载气)流经装有填充剂的色谱柱进行分离测定的色谱方法。

三、实验材料、仪器和试剂
1. 药品:牛黄解毒片、冰片
冰片是牛黄解毒片中的药材之一,其组成为龙脑和异龙脑的混合物,具有挥发性。
2. 器材:气相色谱仪、刀片、滤膜、10mL容量瓶、漏斗、滤纸、移液器、微量进样器
3. 试剂:分析级乙酸乙酯
四、实验方法及步骤
1. 优化色谱条件
载气(N2)流速:3mL/min
柱温:初始温度130℃,10℃/min 升高至250℃
进样量:1uL
进样口温度:260℃;检测器温度:280℃
色谱柱:HP-5 毛细管柱(30m×0.32um×0.25um)
检测器:氢火焰离子化检测器,氢气流速40mL/min,空气400mL/min,尾吹(从色谱柱出口直接进入检测器,消除检测器死体积的柱外效应)30mL/min
取1uL注入气相色谱仪,测定5次,计算校正因子。
2. 内标溶液配制:正十五烷200uL,置20mL容量瓶中,加乙酸乙酯至刻度,摇匀,作为内标溶液。
3. 含内标物的对照品溶液配制:精密称取冰片对照品1mg,置入10mL容量瓶中,精密加入内标溶液1mL,加乙酸乙酯至刻度,摇匀,使之溶解。
4. 测定校正因子:取冰片对照液1uL,注入气相色谱仪,测定5次,计算校正因子:Fi=As/Ai*Wi/Ws
5. 样品液制备:取牛黄解毒片约1g,用刀片去掉糖衣,研细,精密称定,置入具塞试管中。精密加入内标溶液1mL与乙酸乙酯5mL,超声提取20min,过滤,将浸出液置入10mL 容量瓶中,加乙酸乙酯至刻度,得到样品溶液。
6. GC进样测定方法:用0.45um有机滤膜过滤后,分别取1uL样品溶液和含内标物对照品溶液注入气相色谱仪,鉴别样品中的冰片色谱峰,并记录龙脑和异龙脑峰的总面积,根据校正因子计算和面积比,求样品中冰片的含量。
五、思考题
1. GC可采用几种定量方法,并试述其特点?
2. GC常用的检测器有哪些?
实验五 矿物药石膏中的重金属检查
一、实验目的
1. 熟悉目视比色法的操作与判断
2. 掌握重金属检查的方法与原理
二、实验原理
重金属指在实验条件下,能与硫代乙酰胺或硫化钠作用显色的金属杂质。包括Ag+,As3+,Hg2+,Ni2+,Pb2+等,药品生产中遇铅的机会较多,且铅易蓄积中毒,检查时以铅为代表。
在酸性条件下(pH=3~3.5)
CH3CSNH2 + H2O → CH3CONH2 + H2S
Pb2+ +H2S→ PbS↓(黑色沉淀)
目视比色法:以肉眼直接观察,比较样品溶液与标准品溶液的颜色深浅,判断样品中所含杂质是否超出规定限度。
杂质检查:大多属于限量检查,不要求测定其准确含量,只需检查是否超过限量(最大允许量,不引起毒性,不影响药物的稳定性和疗效,允许杂质存在)
三、实验材料、仪器和试剂
1. 药品:石膏
本品为硫酸盐类矿物石膏族石膏,主要含CaSO4•2H2O,采挖后,除去杂石及泥沙。《药典》规定重金属不得超过10mg/Kg。
2. 器材:25mL纳氏比色管
3. 试剂:标准铅溶液(现配)、醋酸盐缓冲溶液(pH=3.5)、硫代乙酰胺(现配)
四、实验方法及步骤
1. 取石膏4g,加冰醋酸1mL与水24mL,煮沸10分钟,放冷,滤过,用水洗涤残渣并定容至25mL,作为样品溶液。
2. 取25mL纳氏比色管2支,甲管中加入标准铅溶液2mL与醋酸盐缓冲溶液2mL后,加水至25mL。乙管中加样品溶液23mL,醋酸盐缓冲溶液2mL。在甲乙两管中再分别加入硫代乙酰胺试液各2mL,摇匀,放置2分钟,同置白纸上,自上向下透视,乙管中显出的颜色与甲管比较,不得更深。
计算石膏中的重金属限量(百分比或百万分之比):L=C标准V标准/S样品重量
五、注意事项
1. .标准铅溶液的配置:精密称取在105℃干燥至恒重的硝酸铅0.1598g 置1000mL容量瓶中,加硝酸5mL和水50mL溶解后,用水稀释至刻度,摇匀,作为储备液。临用前,精密量取储备液10mL,置100mL容量瓶中,加水稀释至刻度,摇匀,即得(每1mL相当于10ug的pb)
2. 硫代乙酰胺试液配制: 取硫代乙酰胺 4g,加水使溶解成100ml, 置冰箱中保存,临用前取混合液(由1mol/L的氢氧氧化钠15mL,水5mL,及甘油组成20mL 组成)5mL, 加上述硫代乙酰胺1mL, 置水浴上加热20秒,冷却,立即使用。(20 mL量筒,50 mL锥形瓶)
3. 醋酸盐缓冲溶液(pH=3.5): 取醋酸铵25克,加水25ml溶解后,加7mol/L盐酸溶液30ml, 用2mol/L的盐酸溶液或5mol/L氨溶液调节pH为3.5,用水稀释至100 ml,即得。
五、思考题
1. 杂质限量检查和有效成分定量测定的区别?
2. 在酸性溶液中重金属能否用Na2S作显色剂?为什么?
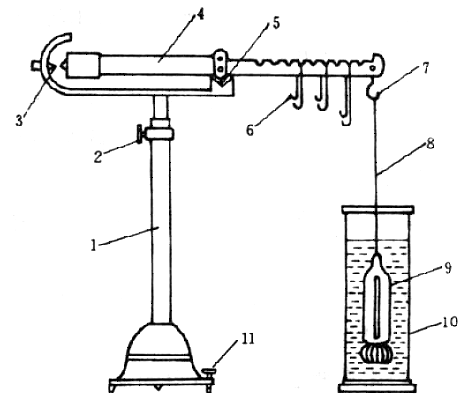
实验六 甲苯法测定银翘解毒丸中水分的含量
一、实验目的
掌握甲苯法测定中药制剂中水分的原理和操作方法。
二、实验原理
甲苯法:水(沸点100℃)与甲苯(沸点110.6℃)共沸同时蒸出,经冷却后出现分层,水分处于下层(水的密度大于甲苯的密度0.866)。通过水分测定管读出水分的体积,换算成水含量的百分比。本法适合于含挥发性成分中药制剂中水分的测定。

《中国药典》对中药制剂所含水分有严格规定,其中大蜜丸、小蜜丸、浓缩蜜丸的含水量不得超过15%,水丸、糊丸、浓缩水丸的含水量不得超过9%。
三、实验材料、仪器和试剂
1. 药品:银翘解毒丸
处方:金银花200g,连翘200g,薄荷120g,荆芥80g,淡豆鼓100g,牛蒡子(炒)120g,桔梗120g,淡竹叶80g,甘草100g
制法(简述):金银花和桔梗粉碎为细分;薄荷和荆芥提取挥发油,蒸馏后的水溶液令器收集; 药渣与连翘等5味加水煎煮2次,每次2小时,滤过合并滤液。滤液与上述水溶液合并,浓缩至稠膏,加入金银花和桔梗粉末,混匀,干燥,粉碎成细粉,喷加薄荷、荆芥挥发油、混匀。每100g粉末加炼蜜80-90g制成浓缩蜜丸。
2. 器材:分析天平、电热套、500mL短颈园底烧瓶,水分测定管,直形冷凝管
3. 试剂:甲苯、亚甲蓝粉末
四、 实验方法及步骤
1. 取银翘解毒大蜜丸2粒(约18g),切成小碎块。用分析天平精密称定,置于500mL短颈园底烧瓶A中,加入甲苯约200mL及沸石。
2. 将仪器各部分连接后,从冷凝管顶部加入甲苯约2mL,充满水分测定管B的狭细部分。将A瓶在电热套中缓缓加热,待甲苯开始沸腾时,调节温度使甲苯每秒钟馏出2滴。
3. 馏出液甲苯和水分进入水分测定管中,水沉于底部,甲苯流回A瓶中。待测定管内的水量不再增加时,继续蒸馏5分钟,放冷至室温,拆卸装置。如有水粘附在B管的管壁上,可用蘸有甲苯的铜丝刷推下,放置,使水分与甲苯完全分离(可加入少量亚甲蓝粉末,使水染成蓝色,以便读数),读出水量所在刻度,计算样品中含水量。
五、思考题
1. 实验所用仪器或器皿是否需要干燥,为什么?
2. 为什么甲苯法适合于测定含挥发性成分的中药制剂水分含量?适合于贵重药材的中药制剂吗?
实验七 藿香正气水(酊剂)含醇量测定
一、实验目的
1.掌握蒸馏法测定中药制剂乙醇含量的原理和方法。
2.熟悉韦氏比重计测定液体相对密度的方法。
二、实验原理
含醇量是中药酊剂和酒剂的主要质量指标之一。酊剂的含醇量一般要求达到40-50%,酒剂的含醇量一般要求达到30-60%,《中国药典》规定采用气相色谱法和蒸馏法测定含醇量。
韦氏比重计:

本实验采用蒸馏法,适用于含有挥发性物质(挥发油、氯仿、乙醚、樟脑)等酊剂和酒剂中的乙醇量测定。利用乙醇比水易挥发的特点,将制剂中的乙醇蒸馏后测定其相对密度,再根据相对密度换算制剂中乙醇(C2H5OH)的含量(%,mL/mL)。
三、实验材料、仪器和试剂
1.药品:藿香正气水
处方:苍术160g,陈皮160g,厚朴(姜制)160g,白芷 240g, 茯苓240g, 大腹皮240g, 甘草浸膏20g,生半夏160g,广藿香油1.6mL,紫苏叶油0.8mL
制法(简述):苍术,陈皮,厚朴(姜制)和白芷,分别用60%的乙醇提取,浸渍24h后进行渗漉,茯苓、大腹皮、甘草浸膏分别煎煮,生半夏冷水浸泡,合并上述提取液,滤过,滤液浓缩至适量。广藿香油和紫苏叶油用乙醇适量溶解,合并以上溶液,混匀,用乙醇与水适量调整乙醇含量,全量成2050mL,静置、滤过、灌装,即得。
《药典》规定藿香正气水的乙醇量40-50%
2.器材:圆底烧瓶、锥形瓶、直形冷凝管、尾接管、量瓶、分液漏斗、温度计、量筒、电热套、韦氏比重计
3.试剂:石油醚、氯化钠
四、实验方法及步骤
根据制剂中含乙醇量的不同,也可分为两种情况。
1.含乙醇量高于30%
挥发性成分的萃取(除去挥发性成分对乙醇测定的干扰): 取供试品,精密量取25mL于锥形瓶中,加入50mL水,并加入氯化钠使之饱和后,置150mL分液漏斗中,用石油醚萃取3次,每次25mL,待两液分离,分取下层水液,置250mL圆底烧瓶中,合并石油醚层用饱和氯化钠溶液洗涤3次,每次10mL,洗液合并后倒入蒸馏瓶。
蒸馏: 在圆底瓶中加玻璃珠(或瓷片)数粒,连接冷凝管,电热套加热,缓缓蒸馏,速度以馏出液一滴接一滴为准。馏出液导入50mL锥形瓶,馏出液约48mL时,停止。如果馏出液出现浑浊,加入碳酸钙后,过滤。
相对密度的测定: 将蒸馏液(/水)转入50mL量瓶中,调节温度至20℃,加20℃的水至刻度,摇匀,用韦氏比重计测定相对密度。在乙醇相对密度表内查出乙醇的含量(%)(mL/mL),与2相乘, 即得供试品中的乙醇含量(%)(mL/mL)。
2.含乙醇量低于30%
取供试品,调节温度至20℃,精密量取25mL于锥形瓶中,加水约25mL,如上法加入氯化钠使之饱和后,置150mL分液漏斗中,如上法操作。
馏出液导入25mL锥形瓶中,俟馏出液约达23mL时,停止蒸馏。
转入25mL量瓶中,调节温度至20℃,加20℃的水至刻度,摇匀,测定相对密度。将查得所含乙醇的含量(%) ,即为供试品中的乙醇含量(%,mL/mL)。
五、 注意事项:
1.任何一法的馏出液如显浑浊,可加滑石粉或碳酸钙振摇,滤过,使溶液澄清,再测定相对密度。
2.蒸馏时,如发生泡沫,可在供试品中酌加硫酸或磷酸,使成强酸性,或加稍过量的氯化钙溶液,或加少量石蜡后再蒸馏。
3.本实验方法适用于供试品中含有挥发性成分的中药制剂的含醇量的测定,对于不含挥发性成分的中药制剂可省略石油醚萃取的操作,直接蒸馏。
4.供试品中加石油醚振摇后,如发生乳化现象时,或经石油醚处理后,馏出液仍很浑浊时,可另取供试品,不经萃取直接蒸馏,将得到的馏出液照本法处理、再蒸馏并测定。
六、 思考题:
1. 比较含乙醇量>30%和<30%两种方法的异同点?
实验八 莪术的吸光度检查与挥发油测定
一、实验目的
掌握用蒸馏法测定中药制剂中挥发油含量。
二、实验原理
水蒸气蒸馏法:中药制剂中的挥发油成分可随水蒸气同时蒸馏出来,而挥发油不溶于水,在特制的蒸馏器蒸馏后,油水分离,可用于测定中药制剂中的挥发油含量。

三、实验材料、仪器和试剂
1.药品:莪术
本品为姜科植物蓬莪术、广西莪术或温郁金的干燥根茎。
《药典》规定吸光度不得低于0.45,挥发油不得少于1.5%(mL/g)
2.器材:研钵、锥形瓶、容量瓶(10mL)、药筛(二号、四号)、电热套、电子天平、电动药材粉碎机、超声波清洗器、紫外分光光度计。挥发油测定装置(500mL短颈圆底烧瓶,具有刻度(0.1mL)的挥发油测定管,球形冷凝管)
3.试剂:氯仿、二甲苯
四、实验方法及步骤
1.吸光度检查
将莪术粉碎,过四号筛(或65目)。精密称取中粉30mg置入锥形瓶,加氯仿10mL,盖上塞子或膜封口,超声处理40min。滤过,滤液转入10mL量瓶,用氯仿定容,在紫外分光光度计200~400nm进行扫描,在242nm处有最大吸收峰,测定吸光度。
2.挥发油的含量测定(两种方法)
(1)本法适用于测定相对密度<1.0的挥发油
装置安装:将莪术粉碎,过二号筛(或24目),称取粗粉60g(准确至0.0l g),置500mL烧瓶中,加水250mL与玻璃珠(瓷片)数粒,振摇混合后,连接挥发油测定器与球形回流冷凝管。自冷凝管上端加水,使充满挥发油测定器的刻度部分,并溢流入烧瓶时为止。
蒸馏:将装置放于电热套中,缓缓加热(约150℃),保持微沸约3小时(回流速度每分钟40-50滴,如果爆沸可能会出现不分层,或挥发油变黑色),至测定器中油量不再增加,停止加热,放置至室温。
测定:开启测定器下端的活塞,将水缓缓放出,至油层上端到达刻度线上面5mm处为止。放置0.5小时,再开启活塞使油层下降至其上端恰与刻度0线平齐,读取挥发油量,并换算成莪术中挥发油的百分含量。
(2)本法适用于测定相对密度>1.0的挥发油
取水约300mL与玻璃珠数粒,置烧瓶中,连接挥发油测定器。自测定器上端加水使充满刻度部分,并溢流入烧瓶时为止,再用移液管加入二甲苯1mL,然后连接回流冷凝管。
将烧瓶内容物加热至沸腾,并继续蒸馏,其速度以保持冷凝管的中部呈冷却状态。30分钟后,停止加热,放置15分钟以上,读取二甲苯的容积。
照上法自“取供试品适量”起,依法测定,自油层量中减去二甲苯量,即为挥发油量,再计算供试品中含挥发油的百分数(mL/g)。
五、思考题
1. 比较相对密度<1.0或>1.0挥发油测定方法的异同点?如何选择?
实验九 连花清瘟颗粒(片、胶囊)质量标准研究(考核)
一、实验目的
1. 熟悉质量标准的主要内容
2. 掌握中药制剂定性定量标准的设计
二、实验原理
参照现行版《中国药典》中的处方、制法、性状和功能主治。
三、实验要求
1. 设计连花清瘟颗粒(片、胶囊)的质量标准方案。
定性鉴别要写明所用对照品或对照药材、鉴别方法,至少有三个鉴别项目;检查要写明检查内容及方法;含量测定要写明样品提取净化方法、所测成分、测定条件、测定方法及含量计算方法。书写一份质量标准资料(理论考察)。
2. 根据连花清瘟颗粒(片、胶囊)中连翘苷的含量测定方案进行实验,计算连翘苷的含量(实验操作考察)。


